准东开发区消防救援大队2022年10月“双随机、一公开”公示
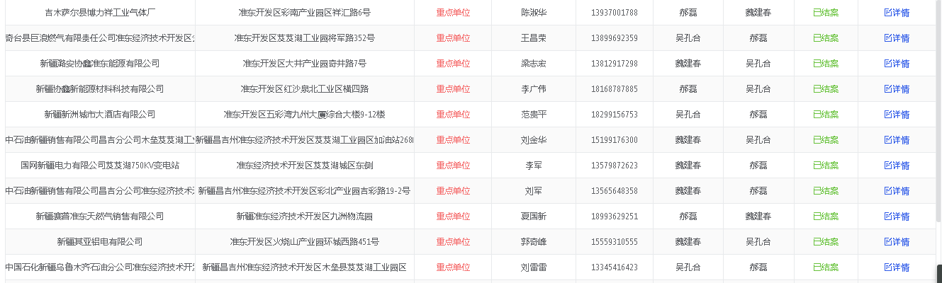
为进一步落实简政放权、放管结合、优化服务要求,坚持依法监管,创新监管方式,规范执法行为,现将准东开发区2022年10月份“双随机、一公开”消防监管信息系统检查结果公示如下:

上一篇: 关于新疆宜化矿业有...
下一篇: 新疆准东经济技术开...
为进一步落实简政放权、放管结合、优化服务要求,坚持依法监管,创新监管方式,规范执法行为,现将准东开发区2022年10月份“双随机、一公开”消防监管信息系统检查结果公示如下:

上一篇: 关于新疆宜化矿业有...
下一篇: 新疆准东经济技术开...