准东开发区消防救援大队2025年1月“双随机、一公开”公示
准东开发区消防救援大队2025年1月“双随机、一公开”公示
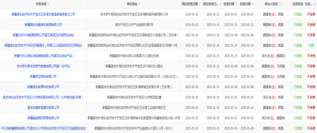
为进一步落实简政放权、放管结合、优化服务要求,坚持依法监管,创新监管方式,规范执法行为,现将准东开发区2025年1月份“双随机、一公开”消防监管信息系统检查结果公示如下:

上一篇: 准东开发区消防救援...
下一篇: 准东开发区安全生产...
准东开发区消防救援大队2025年1月“双随机、一公开”公示
为进一步落实简政放权、放管结合、优化服务要求,坚持依法监管,创新监管方式,规范执法行为,现将准东开发区2025年1月份“双随机、一公开”消防监管信息系统检查结果公示如下:

上一篇: 准东开发区消防救援...
下一篇: 准东开发区安全生产...